![]() |
|
权利要求书
1、纸板加工设备用触压棒,其特征在于:包括一个横梁(1),在横梁(1)下部设有多个 压片(2),每一压片(2)的前端为压片铰接端(3),后端为压片活动端(4),每一 压片铰接端(3)与横梁(1)铰接,在每一压片活动端(4)与横梁(1)之间设有压 簧(5);压片活动端(4)横截面为上凸的弧形。
2、如权利要求1所述的纸板加工设备用触压棒,其不特征在于;所述压片铰接端(3)相 对于压片活动端(4)成倾斜角度,从而使压片铰接端(3)相对于水平面上翘。
3、如权利要求1或2所述的纸板加工设备用触压棒,其特征在于:所述横梁(1)包括 主梁(1)及设于主梁(1)上的多个调节块(8),每一调节块(8)上设有条形的通 孔(9),固定螺栓(10)穿过条形的通孔(9)后将调节块(8)固定在主梁(1)上, 每一调节块(8)上设有铰接孔,每一压片(2)上也设有铰接孔,压片(2)与横梁 (1)通过铰接孔铰接连接。
4、如权利要求1或2所述的纸板加工设备用触压棒,其特征在于:至少在压片(2)的 弧面(6)部分,两相邻压片(2)的侧边(11)所形成的缝(12)相对于横梁(1) 的轴线成倾斜角度。
5、如权利要求4所述的纸板加工设备用触压棒,其特征在于:所述多个压片(2)中,两 侧的两个压片(2)为直角梯形,其余压片(2)为等腰梯形且正反交错放置,各梯形 的斜腰所形成的缝(12)与横梁(1)的轴线成倾斜角度。
说明书
纸板加工设备用触压棒
技术领域
本实用新型涉及一种纸板加工设备,尤其涉及一种纸板加工设备用触压棒。
背景技术
在纸板的加工设备中,触压棒是安装于糊辘的上端,将纸板向糊辘压紧,以实现瓦楞均 匀施胶而不破坏瓦楞成型。普通的纸板加工设备采用滚筒形式的压辊将瓦纸压紧,由滚筒形 压辊与糊辘相配合的结构,具有以下缺点:
1、原滚筒形压辊与糊辘不能自动调整对纸板的压力,压力过小,瓦纸施胶效果不理想, 压力过大则会破坏瓦楞纸的成型。
2、原滚筒形压辊与糊辘的之间的接触为线接触,使纸板的受力面积小。
发明内容
本实用新型的目的,在于提供一种纸板加工设备用触压棒,此触压棒能自动调整纸板不 规则跳动,纸板具有更大的受力面积。
本实用新型是通过这样的技术方案来实现的:
纸板加工设备用触压棒,包括一个横梁,在横梁下部设有多个压片,每一压片的前端为 压片铰接端,后端为压片活动端,每一压片铰接端与横梁铰接,在每一压片活动端与横梁之 间设有压簧;压片活动端横截面为上凸的弧形。
本实用新型触压棒中,压簧能自动的调整纸板不规则的跳动,避免因受力过大而破坏瓦 纸的楞形,提高了纸板的强度;压片活动端上带有柱形弧面,弧面与糊辘的弧形相配合, 能增大纸板的受力面积,纸板受力及施胶均匀充分;当然,所述上凸柱形弧面的轴线应尽 量与横梁的轴线平行。
本实用新型的进一步改进是:
所述压片铰接端相对于压片活动端成倾斜角度,从而使压片铰接端相对于水平面上翘。 在加工过程中,纸板从压片铰接端向压片活动端移动,压片铰接端上翘可以保证纸板能方便 的进入到本实用新型中压片的下部。
所述横梁包括主梁及设于主梁上的多个调节块,每一调节块上设有条形的通孔,固定螺 栓穿过条形的通孔后将调节块固定在主梁上,每一调节块上设有铰接孔,每一压片上也设有 铰接孔,压片与横梁通过铰接孔铰接连接。在安装使用前,调节每一压片所对应的调节块, 以调整压片相对于横梁轴线的倾斜角度,当然,同时上移或下移两个调节块,也可以调整每 一压片铰接端的高度。
至少在压片的弧面部分,两相邻压片的侧边所形成的缝相对于横梁的轴线成倾斜角度。 若两相邻压片的侧边所形成的缝相对于横梁的轴线垂直,则当纸板通过所述纸板加工设备用 触压棒下方时,纸板在缝对应位置因为受力不充分,会出现纸板易起泡,不平整,粘结效果 不理想,而缝相对于横梁轴线成倾斜角度则避免了此情况的出现。
所述多个压片中,两侧的两个压片为直角梯形,其余压片为等腰梯形且正反交错放置, 各梯形的斜腰所形成的缝与横梁的轴线成倾斜角度。此结构为缝与横梁轴线成倾斜角度的具 体结构,当然还可以是其它结构,如中间的压片为平行四边形结构,但采用等腰梯形的结构 能保证更好的互换性,也使每一压片对应的调节块平衡受力。
综上,本实用新型的优点是:
1、,能使瓦纸在通过糊机时保持瓦楞成型不倒瓦;自动调整瓦纸的不规则跳动,所加工 的纸板平整、强度高;
2、瓦纸受力面积加大、施胶更均匀;
3、压片铰接端上翘部分的结构使纸板轻松进入到压片下方;
4、调节块的设计方便对各压片进行调节;
5、相邻压片的侧边形成的缝相对于横梁的轴线成倾斜角度,纸板经过缝下方时能充分受 力、施胶均匀。
附图说明:
图1是本实用新型第一种实施例的结构图;
图2是图1的侧视图;
图3是图2中件2的仰视图;
图4是图1中A处放大图;
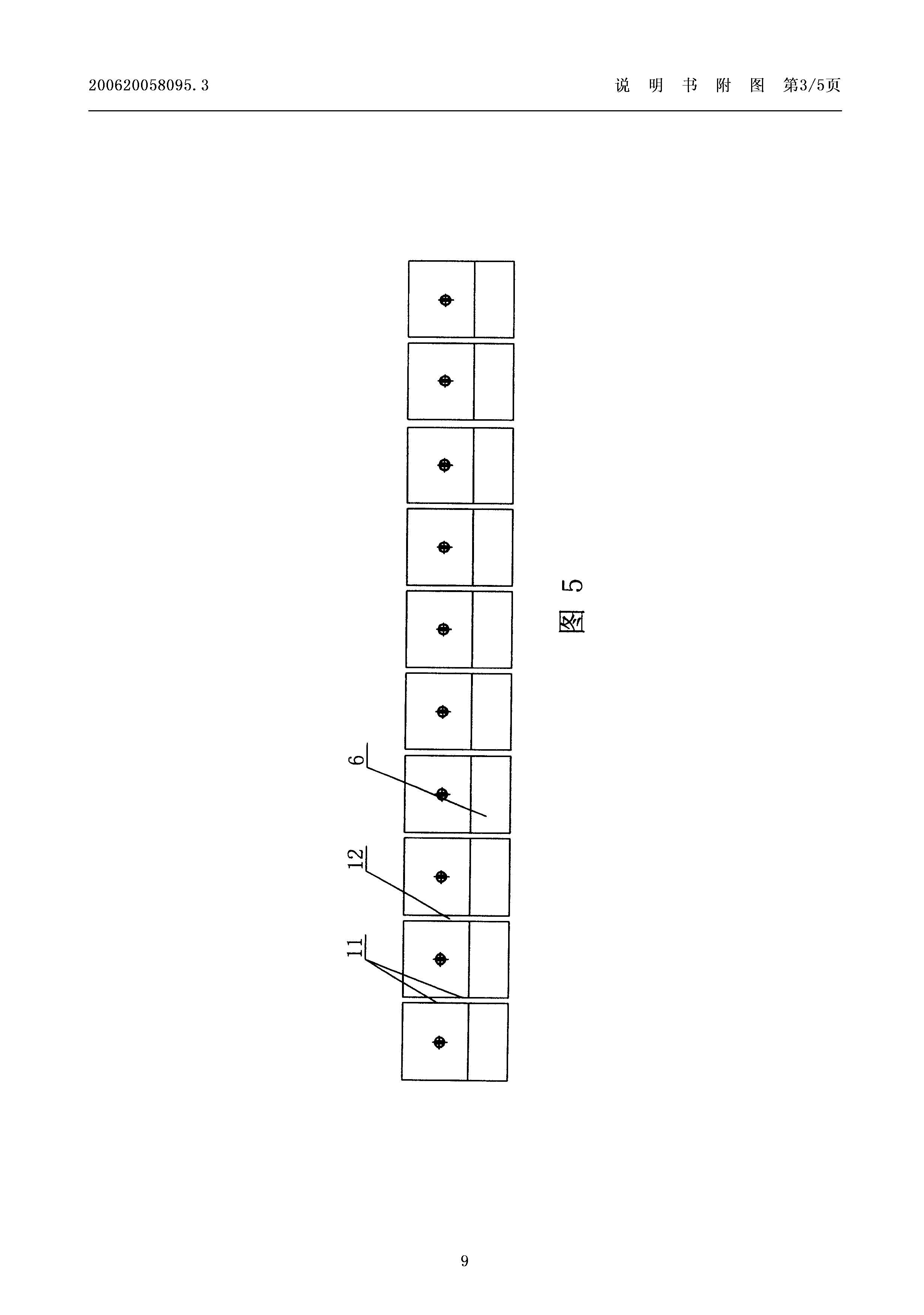
图5是第一种实施例中,多个件2的排列图;
图6是第二个实施例中,多个件2的排列图;
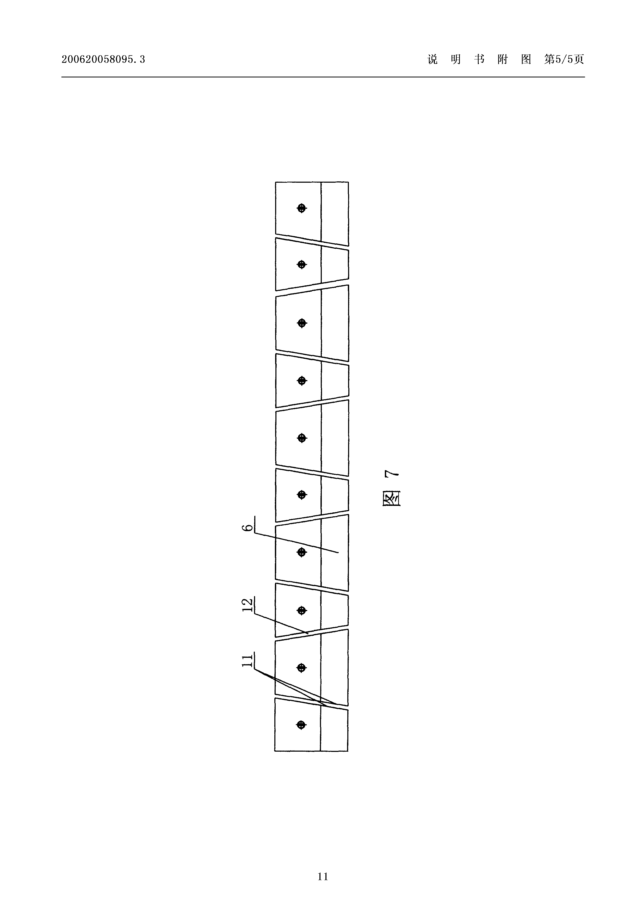
图7是第三个实施例中,多个件2的排列图;
附图标记说明:
1、横梁,2、压片,3、压片铰接臂,4、压片活动端,5、压簧,6、弧面,7、主梁,8、 调节块,9、通孔,10、固定螺栓,11、侧边,12、缝。
具体实施方式
实施例一;
请参见图1、图2、图3、图4、图5,纸板加工设备用触压棒,包括一个横梁1,在横 梁1下部设有10个压片2,每一压片2的前端为压片铰接端3,后端为压片活动端4,在每 一压片活动端4与横梁1之间设有压簧5;横梁1包括主梁7及设于主梁7上的多个调节块 8,每一调节块8上设有条形的通孔9,固定螺栓10穿过条形的通孔9后将调节块8固定在 主梁1上,每一调节块8上设有铰接孔,每一压片2上也设有铰接孔,压片2与横梁1通过 铰接孔铰接连接。
压片铰接端6相对于压片活动端4上成倾斜角度,从而使压片铰接端3相对于水平面上 翘;同时压片活动端4横截面为上凸的弧形,弧面6的轴线与横梁1的轴线平行。10个压片 2排列,相邻设置的压片2的侧边11所形成的缝12与横梁1垂直。
使用本实用新型时,先调整每一压片2对应的两个调节块8,以调整每一压片2相对于 横梁1轴线的角度,同时上移或同时下移调节块8,也可以调节每一压片2的高度;工作时, 纸板从压片铰接端3的上翘部分进入到压片2下部,压片活动端4的弧面与其下部的糊辘相 配合,将纸板夹在中间加压,由于每一压片2可以自动调整纸板的不规则跳动,纸板受力均 匀;同时,由于压片活动端4上设有弧面,能与糊辘充分配合,纸板受力面积更大,施胶更 均匀,楞形保持良好,强度高。
实施例二:
请参见图6,本实施例与实施例一的不同是:在压片2的弧面6部分,两相邻压片2的 侧11边所形成的缝12相对于横梁1的轴线成倾斜角度。即两侧的两个压片2的弧面6部分 为直角梯形,中间压片2的弧面6部分为等腰梯形,压片2的弧面6部分的梯形的斜腰所形 成的缝12相对于横梁1成倾斜角度。
实施例一的不足是:纸板通过压片2下部时,压片2的弧面为压紧纸板的关键部分,而 两压片2之间的缝12下部的纸板未充分受压,造成纸板容易起泡,粘结不牢固。本实用新 型中,缝12与横梁1成倾斜角度,缝12下部的纸板会随着缝12的倾斜而进入到压片2的 下部,保证纸板各部充分受压,纸板平整,不起泡。
实施例三:
请参见图7,本实用新型相对于第二个实施例的不同是:多个压片2中,两侧的两个压 片2为直角梯形,其余压片2为等腰梯形且正反交错放置,各梯形的斜腰形成的缝12与横 梁1的轴线成倾斜角度。
本实施例与实施例二原理相同,此处不再赘述,只是在本实施例中,压片2整体为直角 梯形或等腰梯形,相对于实施例二而言,压片2的加工工艺性好。
|
![]() |
![]() |
![]() |
![]() |
![]() |













