![]() |
|
权利要求书
1.一种纸板生产线自调面触压棒,含有安装机架和一定数量的触压片,所
述各触压片依次排列近似处于同一平面上,通过其后部的铰接连接件及支架安
装于机架下部,各触压片弧形工作部位上端面设有弹性顶紧机构,其特征是:
所述铰接连接件包括一与支架下部枢接的活轴,一前端设有限位块的支轴以及
触压片上端面中部固定的连接块,所述连接块上与涂胶辊辊轴径向方向一致设
有支轴孔,所述支轴另一端穿过支轴孔与活轴铰接,所述支架上对应触压片纵
向设有限位螺钉。
2.根据权利要求1所述的纸板生产线自调面触压棒,其特征是:所述支轴
前端的限位块近似为具有一定宽度的“L”体形,与其形状相同且相互匹配扣合
的限位体固定在触压片上端面对应位置。
3.根据权利要求1所述的纸板生产线自调面触压棒,其特征是:所述支轴
前端的限位块近似为具有一定宽度的“L”体形,在触压片上连接块的前端下部
设置有与“L”体形限位块对应配合的限位槽。
4.根据权利要求1或2或3所述的纸板生产线自调面触压棒,其特征是:
所述弹性顶紧机构含有压缩弹簧,所述压缩弹簧位于一缸体中,所述缸体固定
于安装机架上,缸体内压缩弹簧下部为顶柱,所述顶柱从缸体及安装机架下端
伸出,缸体内压缩弹簧上部为调压螺杆,所述调压螺杆从安装机架及缸体上端
进入缸体并于缸体内侧螺纹配合,调压螺杆上与安装机架接触部位设有锁紧螺
母。
说明书
纸板生产线自调面触压棒
一、技术领域:
本实用新型涉及一种纸板生产线触压棒。
二、背景技术:
当前在纸板生产过程中,两层纸瓦楞进入烘干粘合段之前, 须二次涂胶,涂胶部由涂胶棍、计量棍和触压片组成,多块触压片平行于涂胶 棍纵向固定在机架上,触压片工作部位为弧型,工作时使多个瓦楞纸棱顶接触 涂胶棍,旧式纸板生产线触压棒结构设计上的先天性缺陷使其安装和使用存在 一些问题:1、在旧式纸板生产线中触压片是沿涂胶棍轴向方向通过支轴固定在 机架上,因加工误差、安装误差引起压板工作面不在一个平面上,使纸板局部 受压涂胶不匀,粘合不良。瓦楞纸板幅宽较小的时候,触压片小部分压纸,纸 板边部承受超压力引起塌楞。2、在旧式机中,压力弹簧长时间外漏使用,弹簧 上布满粘合剂和尘垢,时间长了弹簧容易失去弹性,同时弹簧压力不可调,而 在实际生产中材质的变量很大,厚纸需要的压力大,薄纸需要的压力小,薄厚 纸变换的时候,明显暴露出压力过剩及压力不足的缺点:压力过剩,棱型压塌, 强度降低,压力不足涂胶不匀,粘合不好。
三、实用新型内容:
针对现有技术纸板机触压棒存在的问题,提出一种纸板生产线自调面触压 棒,触压片通过支轴沿涂胶棍经向安装,工作平面自调,工作状态下触压片始 终和纸板保证同平面,既保证了调节加工、安装的误差量,又控制特殊情况下 不能接触涂糊棍,涂胶均匀,纸板粘合良好。
本实用新型所采用的技术方案:
一种纸板生产线自调面触压棒,含有安装机架和一定数量的触压片,所述 各触压片依次排列近似处于同一平面上,通过其后部的铰接连接件及支架安装 于机架下部,各触压片弧形工作部位上端面设有弹性顶紧机构,所述铰接连接 件包括一与支架下部枢接的活轴,一前端设有限位块的支轴以及触压片上端面 中部固定的连接块,所述连接块上与涂胶辊辊轴径向方向一致设有支轴孔,所 述支轴另一端穿过支轴孔与活轴铰接,支架上对应触压片纵向设有限位螺钉。
所述的纸板生产线自调面触压棒,支轴前端的限位块近似为具有一定宽度 的“L”体形,与其形状相同且相互匹配扣合的限位体固定在触压片上端面对应 位置。
所述的纸板生产线自调面触压棒,支轴前端的限位块近似为具有一定宽度 的“L”体形,可以直接在触压片上连接块的前端下部设置有与“L”体形限位 块对应配合的限位槽。
所述的纸板生产线自调面触压棒,弹性顶紧机构含有压缩弹簧,所述压缩 弹簧位于一缸体中,所述缸体固定于安装机架上,缸体内压缩弹簧下部为顶柱, 所述顶柱从缸体及安装机架下端伸出,缸体内压缩弹簧上部为调压螺杆,所述 调压螺杆从安装机架及缸体上端进入缸体并于缸体内侧螺纹配合,调压螺杆上 与安装机架接触部位设有锁紧螺母。
本实用新型的有益积极效果:
1、本实用新型纸板生产线自调面触压棒的触压片通过支轴沿涂胶棍径向安 装,工作平面自动调整,并且设有限位块,既保证了调节加工、安装的误差量, 又控制特殊情况下触压片不能接触涂胶棍,工作状态下,触压片始终和涂胶辊 上的纸板保证同平面,涂胶均匀,纸板粘合良好。
2、本实用新型纸板生产线自调面触压棒压力弹簧采用封闭防护安装,弹簧 工作环境清洁,保证了其性能正常发挥,并设有压力调节装置,可根据材质的 不同调整与之适应的压力,保证了纸板棱型高度和涂胶的均匀度,提高了纸板 质量。
四、附图说明:
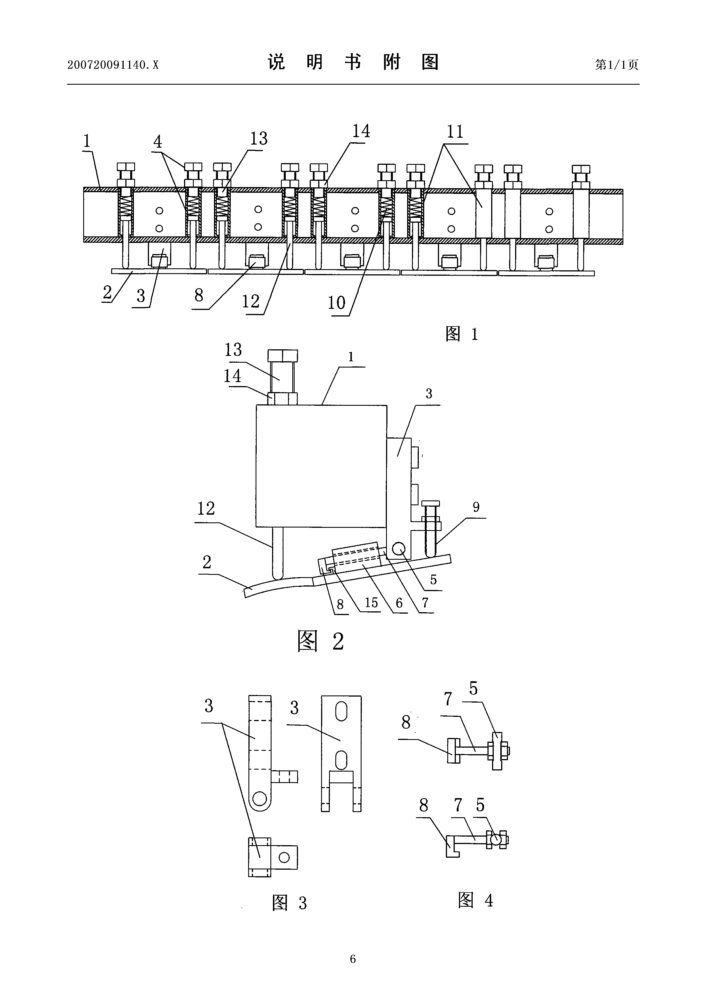
图1:纸板生产线自调面触压棒正视结构示意图
图2:纸板生产线自调面触压棒侧视结构示意图
图3:纸板生产线自调面触压棒触压片铰接支架侧视图、俯视图及后视图
图4:所述自调面触压棒触压片铰接支架活轴、支轴配合俯视图、侧视图
五、具体实施方式:
实施例一:参见图1、图2,本实用新型纸板生产线自调面触压棒,含有安 装机架1和一定数量的触压片2,所述各触压片通过其后部的铰接连接件及支架 3安装于机架1的下部,各触压片依次排列近似处于同一平面上,各触压片弧形 工作部位上端面设有弹性顶紧机构4,所述铰接连接件包括与固定在机架1上的 支架3下部相枢接的活轴5,前端设有限位块8的支轴7,以及触压片2上端面 中部固定的连接块6,在连接块6上与涂胶辊辊轴径向方向一致设有支轴孔,支 轴7另一端穿过连接块6上的支轴孔与活轴5铰接,所述支架3上对应触压片 纵向设有限位螺钉9。
参见图4,为触压片与支架连接时的活轴、支轴配合关系视图。所述支轴7 前端的限位块8近似为具有一定宽度的“L”体形,与其形状近似且相互匹配扣 合的限位体15(图2中)固定在触压片上端面对应位置。具体实施中,触压片 上端面的限位体15可以不单独设置,可以直接在触压片2上连接块6的前端下 部设置与“L”体形限位块对应配合的限位槽。
图3所示分别为支架3的侧视、俯视及后视结构示意图,支架3通过其上 部的螺钉穿孔和安装机架1固定连接,其下端两侧设有活轴枢接孔,支架3一 侧设有限位螺杆(图2中标号9)。
参见图1,本实施例纸板机自调面触压棒,所述弹性顶紧机构4含有压缩弹 簧10,所述压缩弹簧10位于一缸体11中,所述缸体11固定于安装机架1上, 缸体内压缩弹簧10下部为顶柱12,所述顶柱12从缸体11及安装机架1下端伸 出,缸体11内压缩弹簧10上部为调压螺杆13,所述调压螺杆13从安装机架1 及缸体11上端进入缸体并于缸体内侧螺纹配合,调压螺杆13上与安装机架1 接触部位设有锁紧螺母14。
实施例二:参见图1、图2。本实施例与实施例一不同的是:弹性顶紧机构 采用现有技术,即采用压缩弹簧直接固定于安装机架下部,弹簧下端顶紧触压 片。与实施例一相比缺点是,弹簧压力不可调,弹簧工作环境差。
二者对现有技术的突破是:触压片通过支轴、活轴及支架安装在机架下部, 触压片可沿涂胶辊工作面上、下运动并扭动,工作时通过触压片可以保证纸板 始终与涂胶辊在一定程度上保持平整接触,涂胶均匀,纸板粘合良好。具体实 施时,支轴前端及触压片上也可以不设相互配合的限位块和限位体。
|
![]() |









